网络编程

相关的代码可以看, https://github.com/gaowanlu/GameBookServer/blob/master,仓库为Fork过来的,也可以看书籍原作者的仓库. 其中 00_XX~02_XX 部分.

网络编程

如果你不会基本的计算机网路、基本的网络编程,请先回去好好学 APUE、基本的套接字编程、最好学会 IO 多路复用的时候再来看这些内容。

单机游戏与网络游戏的区别

单机游戏逻辑:基本不涉及异步过程

单机游戏逻辑

网络游戏逻辑:就得和网络打交道

网络游戏逻辑

异步、并行、同步的通俗易懂描述,例如我们要加载 A、B、C 三个资源

IP 地址

IPV4、IPV6,端口号,公网,局域网,这些肯定要知道。

TCP/IP

这些都不会,那你的大学估计要白上了。

应用层、传输层、网络层、链路层。计算机网络的基本知识肯定需要懂。

协议层级说明表

高级内容

如网络编程的阻塞模式、非阻塞模式、基本的函数应用 accept、send、recv、connect、bind,不会的话就去读一读《APUE》那本砖头书。

网络 IO 多路复用

基本内容不会可走不远,select、poll、epoll 这些肯定要回。

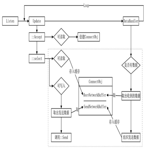
Select 模式下服务端的流程图:

Select模式下服务端的流程图

Epoll 模式下服务端的流程图:

Epoll 模式下服务端的流程图

libevent 是用 C 写的开源事件通知库,性能优良,可以编译为静态链接库使用,而且在 libevent 中 events 数组实现了自增长,有参考价值。

协议

一般都会有协议头,包含 协议号、子协议号、版本号、协议包大小。 先接收协议头,根据提供的“协议号”、“版本号”判断请求是否合法,根据“协议包大小”再读一定字节,得到协议内容包根据协议号版本号进行解析处理。

向字节对齐、网络字节序、主机字节序、错误码,这些肯定要会。

1、拆包:一般单个协议包是有限的,因为 connect obj 的缓冲区有大小限制,缓冲区的空间有限也就根本不能写入超过缓冲区大小的协议包,这就要分成多个包,在协议头加两个字节大小数据

总包序号 当前包序号 含义
0 0 只有一个包
2 1 后面还有一个包

2、缓冲区自增长:使用缓冲区自增长,避免写入 connec obj 缓冲区因空间不足问题。

文件描述符数量限制

一般操作系统本身对进程能打开的文件描述符数量有限制,这一限制是能够修改的。可以阅读 系统编程 部分。数量限制过低,将会影响同时连接服务器的客户端数量。